- Joined
- Nov 16, 2008
- Messages
- 15,061
- Points
- 3,101
- Age
- 39
- City
- Honduras
- Vehicle Year
- 2003
- My credo
- Fortune Favors the Brave
No its not.
				
			
 Welcome Visitor! Please take a few seconds and Register 
for our forum. Even if you don't want to post, you can still 'Like' and react to posts.
 Welcome Visitor! Please take a few seconds and Register 
for our forum. Even if you don't want to post, you can still 'Like' and react to posts.  
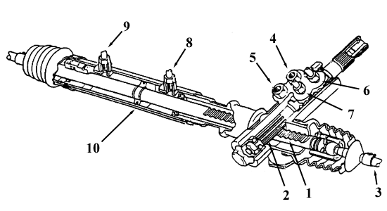
Why can't you use your rack and pinion steering? I've argued with myself about this and think it would work just fine.
 
	 
	 
	 
	 
	 
	 
	 
	 
	rsh, you have too much rep, and a epic truck.
 
	 
	 
	 
	 
	 
	 
	 
	


looks good RSH
I really like how ya did the little aux. lights in the corners....
and the diamond plate makes the brushguard much more beefier
l8r, John
 
	